Игровая мебель
Кровати
Стенки, стеллажи и шкафы
Столы и стулья
Фотогалерея
Прайс-лист
ГОСТы по детской мебели
Контакты
|
ГОСТыГОСТы по детской мебелиГОСТ 19301.2-94 Группа К25
МЕЖГОСУДАРСТВЕННЫЙ СТАНДАРТ
МЕБЕЛЬ ДЕТСКАЯ ДОШКОЛЬНАЯ
Функциональные размеры стульев
ОКС 97.140 ОКП 56 2340 Дата введения 1996-01-01 Предисловие 1 РАЗРАБОТАН Всероссийским проектно-конструкторским и технологическим институтом мебели (ВПКТИМ) Техническим комитетом по стандартизации ТК 135 "Мебель" ВНЕСЕН Госстандартом России 2 ПРИНЯТ Межгосударственным Советом по стандартизации, метрологии и сертификации (протокол N 6-94 от 21 октября 1994 г.) За принятие проголосовали:
3 Постановлением Комитета Российской Федерации по стандартизации, метрологии и сертификации от 08.02.1995 N 47 Межгосударственный стандарт ГОСТ 19301.2-94 введен в действие непосредственно в качестве государственного стандарта Российской Федерации с 1 января 1996 г. 4 ВЗАМЕН ГОСТ 19301.2-73 1 ОБЛАСТЬ ПРИМЕНЕНИЯ 1.1 Настоящий стандарт распространяется на детские стулья, предназначенные для использования в дошкольных учреждениях и быту, и устанавливает их функциональные размеры. Стандарт не распространяется на игровые и трансформируемые стулья. Обязательные требования, обеспечивающие безопасность жизни детей, изложены в разделах 2 и 3. 2 КЛАССИФИКАЦИЯ 2.1 Детские стулья должны изготовляться пяти номеров в соответствии с таблицей 1. Таблица 1
3 РАЗМЕРЫ
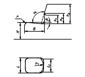
3.1 Функциональные размеры детских стульев должны соответствовать указанным на рисунке 1 и в таблице 2.
Рисунок 1
Таблица 2
3.2 Углубление поверхности сиденья должно быть не менее 10 мм и должно занимать задние минимальной глубины сиденья. Самая глубокая часть должна приходиться на точку, расположенную от передней кромки сиденья на его минимальной глубины. Допускается непрофилированное сиденье с наклоном 3° в сторону спинки. 3.3 Расстояние от пола до передней царги или проножки должно быть не менее 0,75 высоты сиденья стула. Текст документа сверен по: официальное издание М.: Издательство стандартов, 1995 |












